D19技术发布会有几天了,最近在看他们发布会上的一些细节技术。在台上轻描淡写讲了

史涣评汽车啊 2025-10-21 12:56:43

D19技术发布会有几天了,最近在看他们发布会上的一些细节技术。

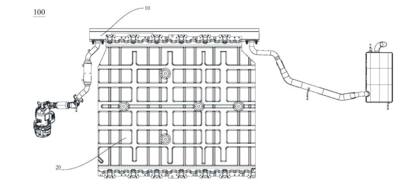
在台上轻描淡写讲了一下,为了能让增程的电池做到80度电,他们把门槛和排气集成在一起了。但是他就轻描淡写说了一句,所以全网好像没啥反应。其实经常做混动动力总成布置的同学,应该经常被这跟排气管折磨得非常酸爽——

滚烫的排气管和电池,势必是不能离得太近的。长时间高温存放,会导致大量电芯内部负反应的发生,对于电芯的寿命影响是最大的。而且势必一部分电芯离开排气管近,一部分远。离得近的衰减厉害,离得远的衰减不厉害。那不就是电芯工程师最讨厌的,一致性差的问题么。

我估计情况,是这样的。估计零跑管排气系统的工程师,这次也是被逼得没办法了。这么一大块电池,就是不肯让空间。那你电池能去和车身结合,做什么CTB。那凭什么我排气管不行?

我想这么天才的设计,是不是应该要有个专利?还真给我找到了。这个零跑在今年3月申请的专利,不管技术背景,还是解决方案,都非常符合?我仔细读了一下,发现这个排气管还能够通过合理的结构布局,利用声波的反射和折射现象,自身变成一个消音器。结果就是,这样的结构不仅能够给电池省出空间来,搞得好的话还能进一步叫嚣后消声器的容积,甚至取消后消。

从宣传的图上可以看到,排气应该是从前侧中间位置进入了白车身里预设的管道,然后从左侧后部接出来,进入中消。这种「离经叛道」的技术突破,对于零跑来说不是第一次。他们是国内第一个采用CTC技术的车企,昨天也扒了他们关联公司对于电芯更深度冷却的结构专利。

零跑这家公司,有点东西。新能源大牛说零跑推出旗舰D平台谁慌了

0 阅读:0
史涣评汽车啊

史涣评汽车啊

感谢大家的关注