云霞育儿网
社会奇闻汇的文章
天兵科技那个火箭坠落,我感到意外的是这家公司是民营企业,成立于2019年,才不到
财经
2024-07-01 13:39
民营火箭公司-天兵科技的火箭,在地面发动机试车,没算好推力,火箭从试车架子窜出去
2024-07-01 11:15
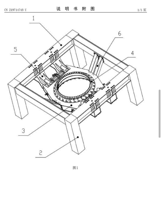
天兵科技2023年申请的专利《一种运载火箭动力系统试车用支撑结构》; 运载火箭
科技
2024-07-01 11:14
众所周知民营火箭项目风险很大,会失败,会爆炸,会反复爆炸,这都符合预期。爆炸是成
科学探索
2024-07-01 11:11
天兵科技正式做了天龙三号事故的情况说明可以看出: 首先,这是运载火箭地面动力系
军事
2024-07-01 11:09
傻眼了!中国地铁站居然有厕所?tiktok上美国老外彻底破防了! 不得不说,制
国际
2024-07-01 10:40
无语死了,体育运动本来就是比较危险的,就算是摔倒,医疗人员也应该第一时间上去询问
体育
2024-07-01 10:25
一觉睡醒, 刷到了张志杰去世的消息 ,昨晚临睡前还说他已经抢救成功了 ,生命太脆
社会
2024-07-01 10:23
我不禁心想:有没有突发事件的应急预案?突发事件应急处置流程是什么?预警观察员在哪
社会
2024-07-01 10:19
震惊.中国17岁羽球小将赛场晕倒后身亡。 2024年亚洲青年羽毛球锦标赛正在印
体育
2024-07-01 10:18
问问uc老铁们,为什么其它车都避让它,不敢靠近,这车多少钱?
汽车
2024-06-27 19:07
问问UC的网友们,你们那方言里这叫什么?或者根本就没见过? 我老家管这叫苣菉(
2024-06-27 18:20
寻找儿时的记忆,奶奶说这个老石磨比我的年纪都大?你们相信吗?
2024-06-27 17:44
北京政策调整后,能省多少钱?以首套房贷款200万元等额均还为例,之前北京最低的贷
房产
2024-06-27 12:52
北京官方星期三发文宣布,首套房贷最低首付比例,从目前的30%调整至20%。同时,
房产
2024-06-27 12:17
周四晚上的CNN辩论中,拜登和特朗普将面临一系列关键问题 移民和边境 拜登:
国际
2024-06-27 11:19
拜登不见了。最近有几天,美国总统拜登,都没有出现在公众的视野里面。很多人都不知道
2024-06-27 10:39
李雪琴同学帮忙出面解释,李雪琴当年考上北大没有靠体育加分。有没有一种可能说不会游
教育
2024-06-27 10:27
天哪,李雪琴633分,惊呆了,633分现在连一个中流985都上不了,虽然20自主
2024-06-27 10:25
一份八块钱的擀面皮,让胖东来赔了八百多万。起始原因有客户拍到新乡胖东来联营餐饮“
社会
2024-06-27 10:23
第一页
下一页
社会奇闻汇
每天更新全球奇闻,让你了解更多1
热门分类
推荐
热榜
军事
NBA
体育
社会
明星八卦
娱乐
财经
科技
汽车
历史
国际
游戏
动漫
公益
搞笑
商业
互联网
数码
国际足球
房产
家居
时尚
科学探索
职场
育儿
股票
教育
影视
情感
热点
中国军情
武器
中国南海
中国足球
亚洲杯
科比
综合体育
CBA
投资
大咖秀
外汇
创业
风口
SUV
豪车
概念车
优惠
新能源
美国
欧洲
朝日韩
俄罗斯
孕期
街拍
婚姻
正能量