看完朱老师的这个视频,我来提供一个有趣的角度,正好英飞凌也刚做了一个有关车门的W

田田谈汽车啊 2025-10-23 14:28:54

看完朱老师的这个视频,我来提供一个有趣的角度,正好英飞凌也刚做了一个有关车门的Workshop,图1。

我们来考虑一个关键链路:

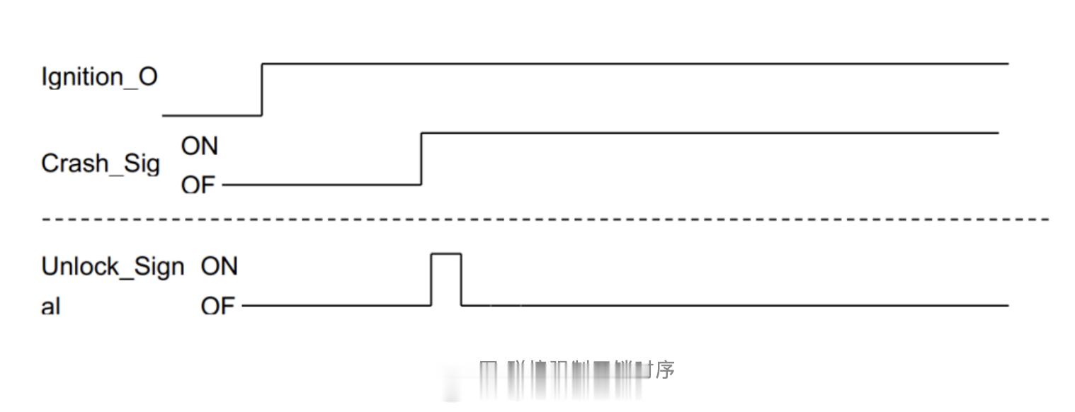
第一步:汽车碰撞

第二步:安全气囊控制器检测到碰撞

第三步:给控制车门的这个控制器解锁的命令

第四步:汽车门锁控制模块解锁 图3,这个是上锁的过程,你可以理解为这个gif反过来解锁

这里可以分为

隐藏式门把手:需要弹开门把手,需要的能量是包含弹出门把手的能量

机械式门把手直接拉手就可以拉开了,这里需要的能量就是让小的电机释放,能量比较小

当然这个过程中,可以从模块这边的记录来看到底发生了什么,所有需要打开的门锁,除了机械变形之外,是有个完整的事件记录的,包括整个执行的单元电源完整性,信号执行的完整性。我在想以后事故相关人员是可以申请去看这个过程,然后大家应该重视的这个过程中是否有一些技术隐患。

最后有关门把手的设计规范,不光是标准层面,从市场监督总局的事故集里面也会有一定的积累,详细中国的产品设计会逐步往更安全和更舒适的方向走,我们写这些技术的内容是方便大家理解。

新能源汽车大v聊车

0 阅读:0
田田谈汽车啊

田田谈汽车啊

感谢大家的关注