
据澎湃新闻报道,开通运营仅一年,丽江观光火车项目面临停摆。1月15日,运营该项目的丽江雪山轨道交通有限公司发文件称,由于开通至今客流量和运营收入极低,项目持续处于严重亏损状态,经公司研究决定:于2026年2月12日起暂停运营服务,后续复运时间另行通知。
项目基本情况
丽江观光有轨电车项目,又称丽江玉龙雪山观光火车、丽江轨道交通1号线,于2025年2月11日开始运营载客。该线路位于丽江市玉龙雪山南侧山麓,全长20.7公里,始于玉龙雪山新游客服务中心(游客中心站),北至甘海子雪川游客港(玉龙雪山站),途经白沙古镇、玉水寨、东巴谷等主要旅游景区和旅客集散点。
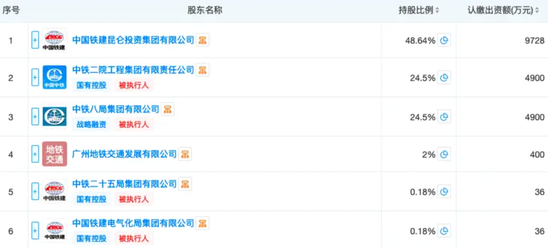
该项目由中国铁建昆仑集团、中铁二院、中铁八局、广州地铁等多家企业以“BOT+EPC”模式联合投资建设,是采用模块化铰接式高地板车辆的旅游观光专线。

丽江雪山轨道公司股权结构
从2020年7月开工建设,至2025年2月11日正式运营,其间多次延迟开通。开通后,外地游客往返票价80元/人,单程票价50元/人。
运营数据惨淡 面临停运风险
2025年9月10日,丽江雪山轨道交通有限公司向丽江市政府发文称,初期运营收入和客流量远低于预期,收入远不够覆盖人工成本,项目持续严重亏损。项目运营已陷入举步维艰的境地,持续亏损导致项目丧失可持续运营的支撑能力。
该文件显示,截至2025年8月31日,观光火车共计运营201天,运营收入累计423万元,仅占招标文件应取得票务收入12065万元的3.5%,平均每天收入仅2.1万元;客流量累计9万人,仅占招标文件应有客流量164.43万人的5.5%,平均每天客流量仅448人。
1月16日,丽江轨道公司相关负责人回应称,因经营效益不及预期,他们已经向政府部门打了报告提示风险。
素材来源:综合自澎湃新闻、搜狐旅游、历史公开资料等