摘要:营、利、销售都跑输大盘(欢迎关注杠杆地产)

撰文|杆姐&编辑|爱丽丝
回暖遥遥无期,房地产的黎明不知何时到来。最近又听到一则“坏消息”,有关绿地控股。

截图来源|网络(特此感谢)
据公开披露,绿地控股旗下公司绿地控股集团有限公司及法定代表人、董事长张玉良被武汉市黄陂区人民法院限制高消费,因未履行生效法律文书确定的给付义务,执行申请人为中铁上海工程局集团有限公司。
1、被限高、被查
绿地控股集团有限公司成立于1992年7月,法定代表人张玉良,注册资本约226.5亿人民币,由绿地控股集团股份有限公司、绿地金创科技集团有限公司共同持股。
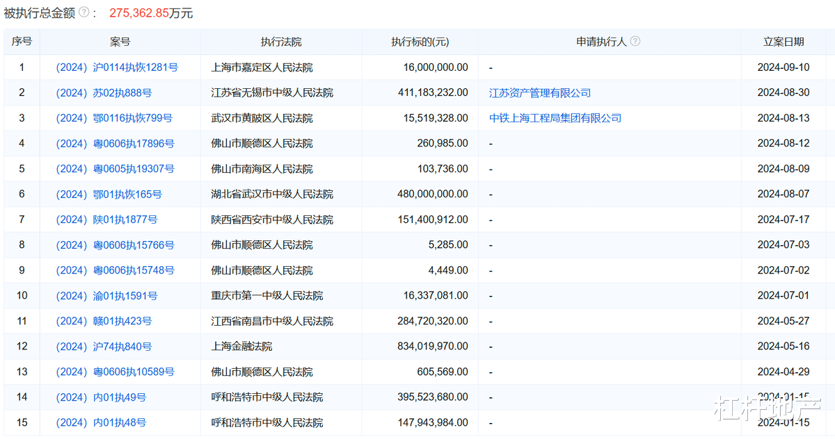
南财快讯记者以投资者身份致电绿地控股证券事务部,相关工作人员表示,“涉及公司下面一个较小的工程项目的纠纷,这两天会去处理的。”杠杆地产从公开披露看到,该案件涉及金额约1551.9万元,立案日期在2021年10月8日,结案日期2021年12月29日,等于绿地拖到现在还未执行。
除此以外,绿地控股集团有限公司作为被执行人涉及的案件还有十来件,如下图,分别覆盖上海、江苏、广东、湖北、陕西、重庆、江西、内蒙古,被执行总金额约27.5亿元。

截图来源|企业预警通(特此感谢)
绿地今年糟心事儿似乎有点多。此前7月,绿地控股还因副董事长被查回归舆论视野。彼时上海纪委监委通报,上海城投(集团)有限公司副总裁胡欣因涉嫌严重违纪违法正接受上海市纪委监委纪律审查和监察调查。上海城投为绿地控股的第三大股东,目前持有该司股份20.55%。
绿地控股整体目前为无实际控制人状态,前三大股东分别为上海格林兰投资企业(有限合伙)持股25.88%;上海地产(集团)有限公司持股25.82%;上海城投。
对于副董事长被查,绿地控股称:胡欣系公司股东单位委派的外部董事,不参与公司日常经营管理。上述事项亦不会对公司生产经营活动产生重大影响。
2、营、利、销售都跑输大盘
2024年绿地的糟心还体现在业绩上。
公开数据显示,上半年绿地控股的营、利等指标下滑幅度扩大。其中营收同比下滑33.74%为1154亿元,大幅高于2023年14.91%的降幅。这也是至少近9年来该司期内营收同比最大降幅。
和其他房企略显不同的是,绿地控股除了房地产及相关产业,还涉及建筑及相关产业、商品销售及相关产业等,其中前两大业务占据绝大部分营收来源,又以房地产及相关产业今年滑坡最厉害,营收同比下滑46.27%,建筑相关产业同比降幅略小为28.03%。

截图来源|东方财富(特此感谢)
如绿地控股财报里所言,造成该司营收下滑的原因是“房地产及基建行业依旧低迷”,确实也是实情,但似乎又不全是实情?因为横向对比来看,绿地控股的营、利降幅都高于百强房企平均水平。
据中指研究院监测数据,上半年,105家(剔除违约房企)A股和H股上市房企营业收入均值为115.91亿元,同比下降13.00%;净利润均值为1.45亿元,同比下降82.05%。
2024上半年,绿地控股归属净利润同比下滑91.97%,从去年同期的19.32亿元降到1.1亿元。降幅也是至少近9年来同期降幅之最。
不过上半年绿地控股好歹是盈利的,其他亏损的房企也很多。

截图来源|东方财富(特此感谢)
销售方面,2024年前8个月绿地控股也不咋地。杠杆地产从克而瑞榜单看到,前8月绿地控股全口径销售金额436.4亿元,权益金额383.7亿元;2023年同期这两项数据分别为743.2亿元、668.9亿元,同比分别下滑41.3%、42.6%。
此前数据显示,2024年1-8月TOP100房企销售总额为26832.4亿元,同比下降38.5%,如此来看,绿地控股今年的销售也是跑输大盘。

截图来源|克而瑞(特此感谢)
2024年的剩下4个月,绿地控股能否迎头赶上,难度不小,就看“金九银十”的成果了。
3、债务承压
资产负债方面,杠杆地产发现上半年绿地控股的变动非常微妙。一方面该司货币资金同比大幅减少,从2023年上半年的470.1亿元降低到284.5亿元,少了185亿多元。另一方面其短债似乎没怎么少,反而增加了一些。
上半年,绿地控股的短期借款从去年同期的293.7亿元增长到356.1亿元;1年内到期的非流动负债从677.6亿元增长到690.9亿元;减少的主要科目为应付票据及应付账款,从2023年6月末的3290亿元降低至3118亿元。不得不说绿地这个应付账款都多的……
因为合同负债同比减少约875亿元,加上应付票据的减少,导致绿地控股的整体负债同比减少1000多亿,从2023上半年的1.033万亿元降低至9267亿元。资产总计绿地控股则同比减少约1300亿元为1.070万亿,除了货币资金减少,还有应收票据及账款减少约185亿元、存货减少约831亿元等等。
上半年绿地控股资产负债率上升至86.63%,在目前的宏观局势下,很难办。
当然,绿地控股也不是没有想办法,早在2021年年底,绿地控股就向上海地产和上海城投分别出售了上海地产星弘房地产开发公司各30%的股权,总交易额30亿元,期限为2年,年收益率8%,到期后回购;
2022年8月,绿地控股又分别获得了上海地产和上海城投向其发放的15亿元委托贷款,合计30亿元,期限为2年,年利率6%。
绿地还尝试探索其他业务,比如医疗、康养等等,但这些产业距离“输血”还比较远。
说一千道一万,关键的主业销售端颓势不改变,包括绿地在内的诸多房企估计都“渡劫”坎坷。未来能坚持坐在饭桌上的企业,恐怕会越来越少……
本文未标注出处的财务图表,均源自企业有关公告,特此说明并致谢
版权及免责声明:本文系杠杆地产创作,未经授权,禁止转载!如需转载,请获取授权。另,授权转载时还请在文初注明出处和作者,谢谢!杠杆地产任何文章之观点,皆为学习交流探讨用,非投资建议。用户据此进行的一切投资,请自负责任。文章如有疏漏、错误欢迎批评指正。