小顾从没想过,自己高高兴兴拿到的一份工作,最终会引发这么多风波。
事情还要从2月6号说起,那天小顾发现自己工资单上的数字比她预期的要低。
小顾是江苏南通人,几个月前,她在当地应聘了一家超市的试吃员,每月薪资据说能有四千多块。
想着薪水还不错,小顾便放下心来,签了合同。
可谁知,接下来几个月,她的工资却因为各种缘由一再缩水。

面对这些问题,小顾首先是向公司领导反映。
然而领导的态度冷淡,甚至将她微信拉黑。
无奈之下,小顾只好求助于一位名叫“南通老狼”的博主,希望通过他找到答案。
老狼虽然也不擅长处理这种事情,却热心地将小顾的遭遇发到网上,向网友求助。
事情就这样铺开了。
事情发酵:网友的反应和支持
令人意想不到的是,这条求助帖迅速在网络上引起了关注。
很多网友对小顾的遭遇表示同情,并纷纷留言声援。
大家一致认为,公司不应该因为工资问题开除员工,更不应在员工询问薪资时表现出不耐烦。

此事甚至吸引了一些劳工权益保护者的关注,大家发出了各种声音,有的提出法律援助,有的建议集体投诉。
不过,公司很快做出反应,不仅开除了小顾,还声明她的行为损害了公司的声誉。
公司试图控制事态,先是声称小顾严重违纪,接着提及她分享了工资信息,这被视作违反了公司的保密协议。

这一下反倒更加激起了网友的不满,大家开始深扒这家公司的底细。
公司回应与后续的发展原来,这家公司的问题远不止管理上的苛刻。
网友们很快发现,公司不仅在处理试吃员工资问题上存在疑虑,还牵涉到大量的法律纠纷。
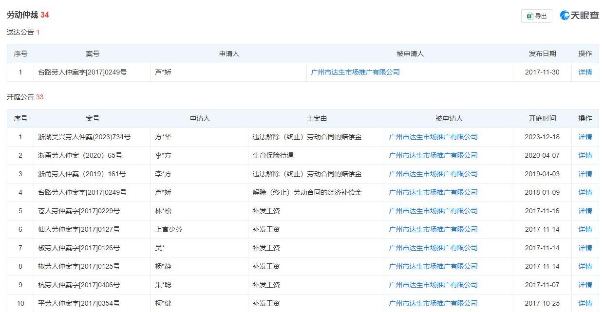
天眼查资料显示,这家公司自2008年成立以来,涉及的司法案件高达253起,劳动仲裁也有34起,几乎全和工资相关。
这些数据无疑成为了压倒公司的最后一根稻草。
公司的回应显得有些措手不及。
他们首先试图推出一名中层领导来解释工资问题,说小顾的工资核算没有问题,是按照当地最低工资标准发放的,还特别提到了满勤奖金等细节。
可网友们并不买账,觉得公司在推卸责任。
尤其是看到如此多的劳动仲裁案件,更加坚定了大家支持小顾维权的意愿。
背后的公司黑历史与法律分析在网友的挖掘和媒体的报道下,这家公司的种种不规范操作逐一浮出水面。
他们不仅存在大规模的劳动纠纷,还曾被冻结近四百万的股权,涉及多起行政处罚。
面对这些黑历史,公司的回应显然显得苍白无力。
不少法律专业人士也出来发声。
有人指出,公司签订的保密协议,若未能明确告知员工其具体内容且未进行公示,就有可能不具有法律效力。
也就是说,小顾被开除一事存在着法律上的不合规。
因此,建议小顾继续维权,有理有据地争取自己的合法权益。
事实上,这件事不仅仅是小顾一个人的遭遇,它反映的是职场中许多员工面临的普遍问题。
很多公司在招聘时,对薪资待遇讳莫如深,员工一旦表达疑问,可能就会面临不公正的对待。
而员工维权的过程中,公司和员工之间的信息不对称,以及公司可能采取的高压手段,更让人寒心。
结尾公平的工作环境,是每一个职场人都应享有的基本权利。
小顾的故事,虽然只是冰山一角,但也让许多人看清了背后的问题。

在我们追求职业发展、努力工作的路上,遇到不公正对待时,尽量通过合法手段维护自己的权益,既要有勇气,也要有智慧。
而作为公司,唯有公开透明、合理合法,才能真正赢得员工的信任和尊重。
每一位职场人,都是为了自己的梦想和生活在努力着,他们应当被善待和尊重。

愿每一个职场故事,最终都能有一个公平和谐的结局。