现在比亚迪车上的联网信号大多数都已经是5G信号了,想必这点,大家都已经知道了,特别是唐DMI,这款车从2022款开始就一直是5G传输网络,可是,很多人可能对此没有发觉一件事情,那便是相较于其他车企采用的4G网络来说,比亚迪的这个5G网络真的没有想象中那么好,甚至还不如用4G的实用性更强。

首先,要说这件事情,我们也不得不先一下5G网络的好处,毫无疑问,5G最大亮点,就是传输速度极快,理论峰值下载速率方面,4G直接被5G吊着打,哪怕不是理论,实际下载和上传速度方面,更是一点话说都没有,双方完全就是不属于一个量级的差距,可是,即便这样了,为啥我还是要说4G要比5G更好用?

首先,就是信号范围,不同于4G几乎覆盖全国来说,现如今的5G并没有覆盖到全国各地,特别是偏远地区或者较为偏僻的农村地区,工信部都发布过,4G有711.2万个,而5G只有425.1万个,更是只有4G信号没有5G,这也不能怪我们国内移动公司不给力,主要还是因为覆盖范围问题,4G一个基站可以覆盖3公里范围内的地区,而5G只有300米左右。

对于车主而言,最大麻烦就是遇到信号不好的地区,特别是比亚迪把现在的很多智能化系统都给联网了,特别要点名一下语音操作,你别看现在的语音操作很智能,那个前提是你有网络,如果没有网络时,比亚迪的小迪跟傻子一样,更何况听歌啥的,会不断地出现卡顿的情况,更别提看视频了,让你也是叫苦不迭。

有人会说什么5G传输速度快,但问题的关键是传输速度这件事情,我们还是要打双引号的,你想一下就知道了,你开车时,总不可能一边下载大型软件和视频吧?大部分人开车,屏幕对你来说,最大的作用,可能就是听歌,哪怕真的要用网络了,无非就是小孩看视频,可看视频4G已经基本满足需求了,这时候,你说你有什么用?

这时候,4G网络的好处就开始凸显出来了,大部分地区都有4G信号,你不需要担心网络中断的尴尬,在一些地区,你也照样能够听得到歌,看得了视频,4G网络信号范围也更加广阔一些,不必要担心语音呼叫反应慢和卡顿的情况,也已经基本满足了车主大部分需求,没有什么传输速度不够的问题了。

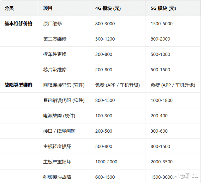
还有一个隐藏优势,是很多人忽略掉的,那便是维修成本,你别看好像他们都是一样的芯片,可实际上,对比一下成本,你会发现两者差距不是一般的大,基本维修方面,不管是原厂、第三方、拆车件和芯片级维修,你会发现,4G的成本都要比5G低很多,5G 模块维修成本普遍比 4G 模块高30%-100%,什么概念?相当于修车花费会更大。

所以,这也是为什么我说现在比亚迪车上的那个5G网络真没有4G那么实用的原因了,不过,如果你平日里不去那些网络信号差的地方,那么,这件事情对于你而言,其实影响也没有想象中那么大了,只不过要是经常跑那些信号差的地方玩,那恭喜你了,你要考虑清楚一件事情,就是那个地方的信号。