开年以来,保险业最大罚单花落华安财产保险股份有限公司(简称“华安财险”),该公司总公司和两家分公司以及13名相关责任人合计被罚款565万元,单笔罚款金额位居保险行业首位。
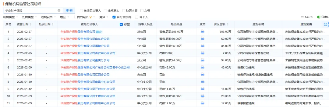
据统计,今年前两个月,华安财险共有11家机构被查处,罚款金额合计达836.3万元,被查获的违法违规行为涉及“违规跨区域经营保险业务”“虚构保险中介业务套取费用”“未按照规定使用经备案的保险费率”等方面,暴露出该公司的合规经营短板和内部控制漏洞。
据了解,华安财险目前已有3家大股东出现非标违约,1家大股东沦为失信被执行人;该公司11名股东质押持有的该公司股份数量合计16.13亿股,占该公司总股本的比例为76.83%;其中,6家股东的股权质押比例高达100%。此外,该公司实际控制人、董事长李某荣2018年4月因涉嫌行贿罪被检察机关批准逮捕。该公司2019年3季度偿付能力报告摘要披露李某荣卸任董事长,该公司董事长空缺。截至目前,该公司董事长职位悬空时间已超过六年半。
斩获开年最大罚单
2月27日,国家金融监督管理总局公布的行政处罚信息显示,华安财险被查获“未按照规定使用经批准或备案的保险条款、费率”“报送数据不准确”“跨区域开展业务”等违法违规行为,该公司总公司被处以警告并罚款386万元重罚,该公司山东分公司被处以罚款60万元处罚,该公司福建分公司被处以罚款35万元处罚。
与此同时,华安财险13名相关责任人一同被罚,袁某奇、吴某华、朱某威、廖某舟、陈某巍、王某、王某娟、余某、赵某恩、凤某、张某华、鲁某豪、徐某被国家金融监督管理总局处以警告并罚款共计84万元处罚。
记者了解到,这是今年以来监管部门对保险公司开出的最大罚单,无论是罚款金额还是被处罚的高管人员层级和数量,上述罚单都位居行业首位。上述被罚的13名相关责任人中,包括华安财险总精算师吴某华、总经理助理凤某、总经理助理徐某、电子商务部总经理余某,以及河南分公司时任总经理朱军某、湖南分公司总经理陈某巍、江苏分公司总经理张某华等多名重量级人物。

图片来源:企业预警通
据企业预警通提供的信息显示,今年前两个月,华安财险共有11家机构受到监管机关处罚,其中包括该公司总公司及重庆分公司、山东分公司、福建分公司、江西分公司等10家分支机构;罚款金额合计836.3万元。
2月12日,国家金融监督管理总局重庆监管局公布的行政处罚信息显示,华安财险重庆分公司因“虚列费用”、“虚构保险中介业务套取费用”、“违规跨区域经营保险业务”、“未按照规定使用经批准或者备案的保险条款、保险费率”问题被警告并罚款94万元,该公司相关责任人冯某玲、文某、李某被警告并罚款共计21万元。
1月30日,华安财险江西分公司和南昌中心支公司同时被查获“利用保险代理人以虚构保险中介业务方式套取费用”“未按照规定使用经备案的保险费率”“未如实记录保险业务事项”的违法违规行为,被国家金融监督管理总局江西监管局处以罚款合计52万元处罚,该公司相关责任人李某、朱某炜被警告并罚款共计8万元。
多家股东出现信用危机
据了解,华安财险目前已有3家大股东出现非标违约,涉及该公司第三大股东海航资本集团有限公司(简称“海航资本集团”)、第五大股东北京国华荣网络科技有限公司(简称“北京国华荣”)和第六大股东上海圣展云汇企业管理有限公司(简称“上海圣展”)。

图片来源:企业预警通
据企业预警通提供的信息显示,粤晓13号财产权信托成立于2018年6月8日,信托期限12个月,海航资本集团将其合法持有的标的股权收益权转让给兴业信托设立财产权信托,对应信托财产投资资金总额为50000万元,获得的信托对价用于补充企业经营性资金。 2023年12月,兴业信托收到海航集团破产重整专项服务信托分配资金40.64万元,因该笔资金收入未能足额支付信托费用,故无可分配信托收益。
记者了解到,海航资本集团还有2只公司债券未按时兑付。2025年6月,第一创业证券承销保荐有限责任公司发布公告称,海航资本集团发行的2014年第一期海航资本控股公司债券到期日为2021年4月29日,但该公司自2020年起未兑付该债券相应利息及到期本金。该公司发行的2014年第二期海航资本控股公司债券到期日为2021年8月8日,但该公司自2021年起未支付该债券相应利息及到期本金。

图片来源:企业预警通
企业预警通显示,粤晓9号财产权信托1期成立于2018年2月6日,信托期限12个月,北京国华荣将其合法持有的标的股权收益权转让给兴业信托设立财产权信托,对应信托财产投资资金总额为15000万元,获得的信托对价用于补充企业经营性资金。2023年12月,兴业信托收到海航集团破产重整专项服务信托分配资金25.14万元,因该笔资金收入未能足额支付信托费用,故无可分配信托收益。

图片来源:企业预警通
此外,粤晓9号财产权信托2期成立于2018年2月9日,信托期限12个月,上海圣展将其合法持有的标的股权收益权转让给兴业信托设立财产权信托,对应信托财产投资资金总额为20000万元,获得的信托对价用于补充企业经营性资金。2023年12月,兴业信托收到海航集团破产重整专项服务信托分配资金30.86万元,因该笔资金收入未能足额支付信托费用,故无可分配信托收益。
超16亿股股份被质押

图片来源:中国执行信息公开网
除3家大股东出现非标违约外,华安财险第四大股东湖南湘晖资产经营股份有限公司(简称“湖南湘晖”)还沦为失信被执行人。该公司失信被执行人行为具体情形为“其他规避执行”,涉案金额2.79亿元,被执行人的履行情况为“全部未履行”,立案时间为2023年7月25日。


图片来源:华安财险2025年4季度偿付能力报告摘要
据华安财险2025年4季度偿付能力报告摘要披露,该公司11名股东质押持有的该公司股份数量合计16.13亿股,占该公司总股本的比例为76.83%。其中,该公司第一大股东特华投资控股有限公司(简称“特华投资”)、第四大股东湖南湘晖、第五大股东北京国华荣、第六大股东上海圣展、第十大股东深圳市深信创业投资有限公司、第十一大股东广州利迪经贸有限公司的股权质押比例均触顶100%,该公司第三大股东海航资本集团的股权质押比例也高达99.68%。
公开资料显示,华安财险成立于1996年12月,总部设于深圳,注册资本21亿元,该公司法定代表人为李某荣。据偿付能力报告摘要披露,李某荣现任华安财险副董事长、执行董事,持有该公司股份数量为4.14亿股,持股比例19.72%。
此前,2018年4月,精达股份(600577.SH)发布公告称,该公司实际控制人李某荣因涉嫌行贿罪,被长沙市望城区人民检察院批准执行逮捕。彼时,李某荣实际控制的特华投资位居精达股份第一大股东席位,持股比例21.80%;特华投资同时位列华安财险第一大股东,持股比例20%。李某荣不仅是华安财险的实际控制人,而且还亲自担任华安财险董事长。
值得注意的是,华安财险的偿付能力报告并未公布李某荣被批准逮捕的消息,该公司2018年2季度至2019年2季度的各期偿付能力报告摘要均显示,李某荣仍旧担任该公司董事长、执行董事、董事会提名薪酬委员会委员、董事会战略和投资决策委员会委员职务。
直到2019年3季度,华安财险的偿付能力报告摘要发生重大变化:李某荣改任该公司执行董事,该公司董事长空缺。华安财险2019年4季度偿付能力报告摘要则显示,李某荣改任该公司副董事长、执行董事,该公司董事长继续空缺。截至目前,华安财险董事长职位悬空时间已超过六年半。
记者:张嘉怡
财经研究员:于文